《哪吒2》票房突破50亿 出品方已注册多枚相关商标
创始人
2025-02-05 09:32:26
0

搜狐娱乐讯 据网络平台数据,《哪吒之魔童闹海》总票房(含点映及预售)已突破50亿元,即将追平《哪吒之魔童降世》所创造的50.35亿元票房。公开信息显示,《哪吒之魔童闹海》由光线传媒主投。

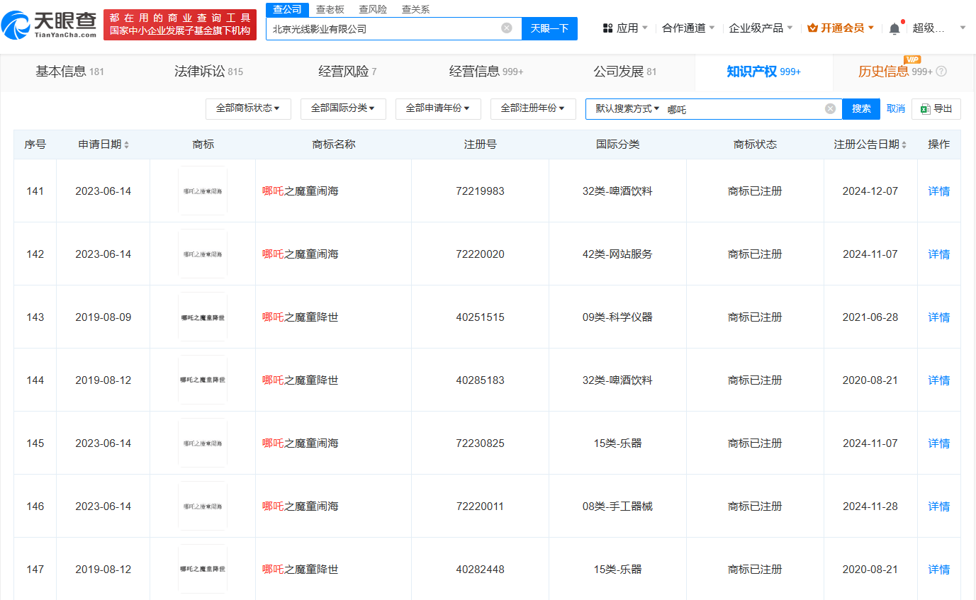
天眼查知识产权信息显示,光线传媒(300251)旗下北京光线影业有限公司已成功注册多枚“哪吒之魔童闹海”商标,国际分类涉及教育娱乐、餐饮住宿、广告销售等。此外,该公司还注册了多枚“魔童哪吒”“哪吒降世”“魔丸哪吒”“哪吒之魔童降世”商标。

相关内容

热门资讯

原创 刘... 在2025年的综艺舞台上,爱奇艺出品的跨龄旅行生活体验真人秀《一路繁花》一经播出便吸引了众多目光。 ...
张予曦路人视角好美啊 很有亲和... 跟粉丝拍照 裙子非常好看 吃完东西 上电梯走了 粉丝们过来合照
林志颖陈若仪夫妇现身上海虹桥机... 搜狐娱乐讯 3月25日,林志颖陈若仪夫妇现身上海虹桥机场,夫妇二人对镜热情打招呼。 林志颖微笑对镜...
虞书欣穿水蓝色长裙优雅灵动 秀... 搜狐娱乐讯 23日,虞书欣拍摄的一组写真美照释出,她身着一袭水蓝色长裙优雅灵动,气质在线! 虞书欣...
歌手苏永康为儿子庆生,妻子被指... 编辑剧透社:小麦Shirley 未经授权严禁转载,发现抄袭者将进行全网投诉 当年凭借《越吻越伤心》唱...
原创 李... 有网友更新了社交平台,主要是晒出在四S店偶遇李湘与女儿王诗龄,表示母子俩是去提车。此画面一出后,立刻...
原创 8... “不姑息自己,不愿意活动的时候,一定要活动。就是要锻炼……” 看到这位已经87岁的老奶奶,还能每天打...
香港女星乳癌复发变末期,癌细胞... 本文编辑剧透社:issac 未经授权严禁转载,发现抄袭者将进行全网投诉 现年50岁的香港女星吴忻熹,...
“五一”假期庐山市迎来数万名乐... 大江网/大江新闻客户端讯汪峻、记者钟良报道:5月2日至3日,庐山市成功举办“云上心跳·2025庐山O...
辛芷蕾威尼斯电影节造型好性感!... 搜狐娱乐讯 5日,辛芷蕾参加威尼斯国际电影节的造型美照释出,她身着一袭紧身裙勾勒曼妙身姿,胸口处的玫...